
7月7日,據媒體報道,網友發布辦公室監控畫面稱,一羅馬仕充電寶突發爆炸。目擊者稱,充電寶是同事去年買的,不是召回型號。

企查查信息顯示,深圳羅馬仕科技有限公司(簡稱“羅馬仕”)成立于2012年3月,雷社杏擔任公司董事、經理、法定代表人,注冊資本600萬元,由雷桂斌、雷燦伙共同持股。值得一提的是,該公司法定代表人、董事等頻繁出現更換。
其中,雷燦伙先后退出深圳潤雨田實業有限公司股東并卸任法定代表人職務,隨后卸任深圳世海雨田實業有限公司法定代表人、執行董事、總經理職務。而雷桂斌分別卸任深圳羅馬仕科技有限公司法定代表人、執行董事、經理職務,退股深圳潤雨田實業有限公司并卸任監事職務,后續又卸任七千貓(江門)科技有限公司、江門羅馬仕科技有限公司、深圳七千貓設計服務有限公司、清遠羅馬仕科技有限公司、江門惠比壽電子科技有限公司法定代表人及高管職務。
另據報道,7月7日,羅馬仕深圳總部聚集大批員工,現場打包物品互相傾訴。其員工透露,“從4月份開始,羅馬仕雷桂強、雷燦鋒、雷桂斌、李秋華、雷燦伙五位主要負責人就已經全部退出釘釘群了,企業釘釘也查不到他們任何信息,目前已經幾個月沒露面了”。

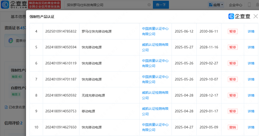
另外,信息顯示,目前羅馬仕公司多個“CCC認證”證書處于暫停或撤銷狀態。


電池網微信












