
圖片來源:全國標準信息公共服務平臺
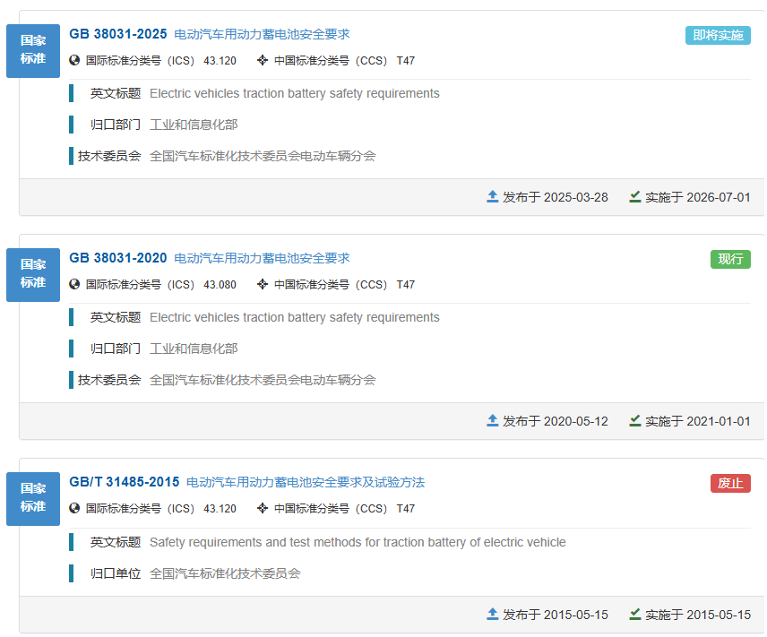
近日,工信部正式發布GB38031-2025《電動汽車用動力蓄電池安全要求》(下文簡稱:動力電池安全新規)。動力電池安全新規將分階段實施:新申請型式批準的車型自2026年7月1日起執行,而已獲得型式批準的車型則從2027年7月1日起執行。
動力電池安全新規中包括7項單體測試,17項電池包或系統測試等內容,將動力電池“不起火、不爆炸”改為了強制性要求,被稱為“史上最嚴電池安全令”。
動力電池安全新規有這些新變化

電池網注意到,2015年,我國發布國家標準GB/T 31485-2015《電動汽車用動力蓄電池安全要求及試驗方法》,主要用于規范電動汽車用動力蓄電池的安全要求和試驗方法。該標準適用于裝載在電動汽車上的鋰離子蓄電池和金屬氫化物鎳蓄電池單體和模塊,其他類型蓄電池參照執行。
2020年,該標準被修改合并為GB 38031-2020《電動汽車車用鋰離子電池安全要求》,并且升級成為強制性國標。作為我國電動汽車領域首批強制性國家標準之一,2020版從實際應用工況場景出發,加強了對電池包和系統的安全要求,并提出了熱擴散安全要求,提升了企業對于電池單體熱失控引發危險的重視程度,對降低產品熱失控危害起到了積極作用。
與2020版相比,本次新發布的GB38031-2025《電動汽車用動力蓄電池安全要求》主要新增電池底部撞擊測試、快充循環后安全測試等試驗項目,加強熱擴散等安全要求,將動力電池起火、爆炸前5分鐘報警提升至不起火、不爆炸,從產品設計端降低動力電池自燃事故發生率,進一步保障消費者生命財產安全。

圖片來源:工信部裝備工業一司
具體來看,主要修訂點包括以下幾個方面:
一是修訂熱擴散測試。2020版測試方法中,觸發方法推薦外部加熱、針刺,2025版升級為“觸發方法推薦外部加熱、針刺、內部加熱”,進一步明確待測電池溫度要求、上下電狀態、觀察時間、整車測試條件。
業內人士指出,觸發方法的修改將覆蓋更真實事故場景。
2020版技術要求“著火、爆炸前5分鐘提供熱事件報警信號”,2025版則升級為“不起火、不爆炸(仍需報警),煙氣不對乘員造成傷害”。
二是新增底部撞擊測試。測試方法為30mm直徑撞擊頭,150J能量,撞擊3次,考察電池底部受到撞擊后的防護能力,技術要求為無泄漏、外殼破裂、起火或爆炸現象,且滿足絕緣電阻要求。
三是新增快充循環后安全測試。要求300次快充循環(SOC區間20%-80%,總充電時間不超過15min的電池單體)后通過外部短路測試,要求不起火、不爆炸,考察動力電池在長期快充循環后的安全性。
四是明確同一型式判定條件。視同條件共17項,包含單體模塊型號及生產企業、箱體結構、安裝方式、能量、單體模塊固定方式、熱管理系統工作方式、熱管理系統流道排布、隔熱材料、單體模塊串并聯數量、電池管理系統、電氣部件負載能力、高壓回路數量、高低壓接插件及維修開關、泄壓裝置、尺寸、質量、對稱性等方面。
動力電池安全新規明確,如電池包或系統發生部分變更,允許按照標準規定對變更參數相關的技術要求進行補充測試,經審批許可后視為同一型式,無需重新進行全部測試。
其他修訂點還包括明確本標準適用于電動汽車用動力電池,即非驅動類電池不適用;完善絕緣電阻要求,增加包含交流電路電池系統絕緣電阻要求;振動測試SOC從不低于50%提升至最高S0C;提升擠壓測試要求,增加絕緣電阻相關判定條件等等。
頭部電池公司及車企已提前做好準備
動力電池安全新規的實施,將筑牢安全底線,保障消費者生命財產安全;完善標準體系,支撐產業高質量健康發展;引導技術提升,助力先進安全技術應用;加強統籌協調,便利全球范圍經貿往來。
與此同時,動力電池安全新規的實施,可能使部分技術儲備不足的企業面臨更高的研發和生產成本壓力,而為適應動力電池安全新規,頭部企業憑借技術積累和規模化優勢,已提前做好準備。

例如,寧德時代電池產品通過安全電解液技術和高耐熱膜技術等一系列核心科技,做到過充、熱失控、針刺不起火不爆炸;比亞迪的刀片電池得益于其獨特的結構設計、材料體系升級以及創新的熱管理系統,在安全性方面表現出色,尤其是在防止起火方面有著顯著的優勢;廣汽埃安彈匣電池憑借電池包速冷技術、電芯零侵入標準等在嚴苛的針刺、槍擊和180°扭轉測試中,仍能保持溫度不失控,更不會起火。

電池網注意到,動力電池安全新規修訂起草組涵蓋電動汽車整車企業、動力電池企業、第三方檢測機構、科研院所等36家單位。
其中,動力電池企業包括寧德時代新能源科技股份有限公司、合肥國軒高科動力能源有限公司、中創新航科技集團股份有限公司、瑞浦蘭鈞能源股份有限公司、深圳市比亞迪鋰電池有限公司、欣旺達動力科技股份有限公司、惠州億緯鋰能股份有限公司、蜂巢能源科技股份有限公司、天津力神新能源科技有限公司。
整車企業包括比亞迪汽車工業有限公司、北京新能源汽車股份有限公司、浙江極氪汽車研究開發有限公司、小米汽車科技有限公司、中國第一汽車集團有限公司、豐田汽車(中國)投資有限公司、日產(中國)投資有限公司、深藍汽車科技有限公司、上海汽車集團股份有限公司技術中心、梅賽德斯-奔馳(中國)投資有限公司、本田技研工業(中國)投資有限公司、寶馬(中國)服務有限公司、大眾汽車(中國)投資有限公司、東風汽車集團股份有限公司、上汽通用五菱汽車股份有限公司、廣州小鵬汽車科技有限公司、特斯拉(上海)有限公司、沃爾沃汽車(亞太)投資控股有限公司、捷豹路虎(中國)投資有限公司。
起草單位還包括中國汽車技術研究中心有限公司、工業和信息化部裝備工業發展中心、中汽研新能源汽車檢驗中心(天津)有限公司、北京航空航天大學、國聯汽車動力電池研究院有限責任公司、長春汽車檢測中心有限責任公司、萬華化學集團股份有限公司、中國汽車技術研究中心有限公司。
結語:目前,我國新能源車產銷量已連續10年位居全球第一,年產銷量已進入千萬輛級別,新能源乘用車國內市場滲透率已穩定在50%左右。新能源車市場滲透率快速增長的同時,安全問題的放大效應倒逼技術、標準和監管同步升級,推動產業從“量變”走向“質變”。
動力電池安全新規的實施,不僅將推動電池技術的升級換代,提升整車安全性能,也將進一步推動新能源汽車全產業鏈的重構,通過強化安全底線、推動技術創新、增強消費者信心與市場規范,將加速我國新能源車行業向高安全、高可靠性方向轉型,成為全球新能源汽車產業的風向標。


電池網微信









