
圖/知行汽車科技
港股迎來“自動駕駛第一股”!12月20日,知行汽車科技(01274)正式登陸港交所。本次IPO,知行汽車科技發行價為每股29.65港元,募資凈額為5.95億港元。

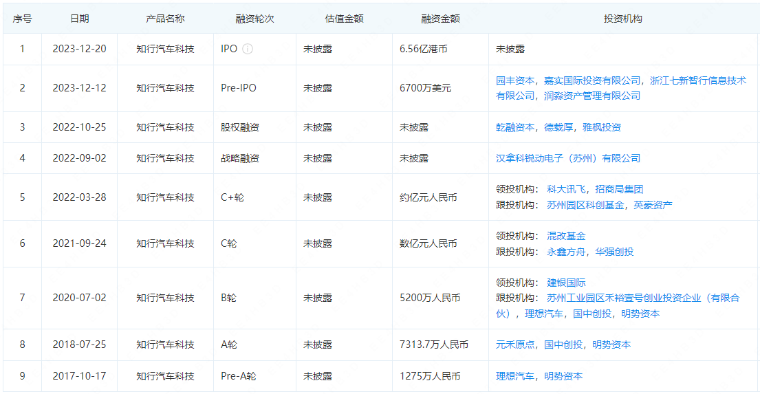
知行汽車科技的基石投資者包括浙江七新、蘇州工業園區產業投資基金、SilkyWater Absolute Return及Harvest,一共認購6700萬美元。
募資用途方面,經扣除知行汽車科技就全球發售應付的包銷傭金、費用及估計開支后,將用于加強知行汽車科技自動駕駛解決方案及產品的研發;知行汽車科技研發總部、制造工廠及新生產線的資本開支;擴大知行汽車科技的銷售及服務網絡;營運資金及一般公司用途。
招股書顯示,知行汽車科技成立于2016年12月,是一家專注于自動駕駛領域前裝系統解決方案的人工智能高科技公司,現擁有已商業化的L2級至L2+級自動駕駛解決方案,并正為整車廠(OEM)開發L2至L4級自動駕駛解決方案。
知行汽車科技已商業化兩條支持L2級至L2+級自動駕駛功能的自動駕駛域控制器產品線,覆蓋廣泛的乘用車價格段及全駕駛場景,包括高速公路、環路、復雜城市道路、鄉村道路及停車場。
根據弗若斯特沙利文的資料,知行汽車科技是中國少數實現自動駕駛解決方案大規模商業化的公司之一。按2022年自動駕駛域控制器銷售收入計算,知行汽車科技是中國第二大第三方自動駕駛域控制器提供商,市場份額為26.2%。
業績方面,2020-2022年,以及2023年上半年,知行汽車科技的收入分別為4765.5萬元、1.78億元、13.26億元和5.43億元,但同期虧損分別為5382.7萬元、4.64億元、3.42億元和9974.8萬元。

圖片來源:企查查
值得注意的是,自2016年成立以來,知行汽車科技已經進行了9輪融資,背后投資機構包括明勢資本、理想汽車、國中資本、建銀國際、中銀粵財、國家混改基金、華強創投、永鑫方舟、訊飛創投、雅楓投資、HLKlemove、乾融控股、招商啟航等。其中,理想汽車曾兩次入股知行汽車科技。目前,理想汽車通過北京車和家持股4.5%,為知行汽車科技第五大機構股東。
客戶方面,知行汽車科技已與多家知名國內及國際OEM開展合作,已獲得吉利、長城、奇瑞、東風、極星等客戶的量產定點。

電池網微信












